口腔灯阴影测试工装
【产品简介】执行标准:
YY/T 1120-2021中7.3.8
- 产品型号
- CW-Z533
- 产品品牌
- 诚卫
7*24小时免费咨询热线
13310112765
电话:13671892469
电话:13310112765
QQ:692427669
公司地址:上海市松江区洞业路999号
口腔灯阴影测试工装
执行标准:
YY/T 1120-2021中7.3.8
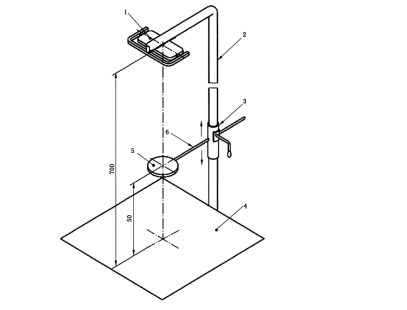
技术参数
圆盘直径:φ 20mm 厚:1mm
距离测量屏:50mm                                               
测量屏:带直角坐标系                    
光源距屏:700mm     
工装包含柱、调节用滑动环、测试屏、杆
 
配置清单
工装一套,合格证一份,铭牌一份。
